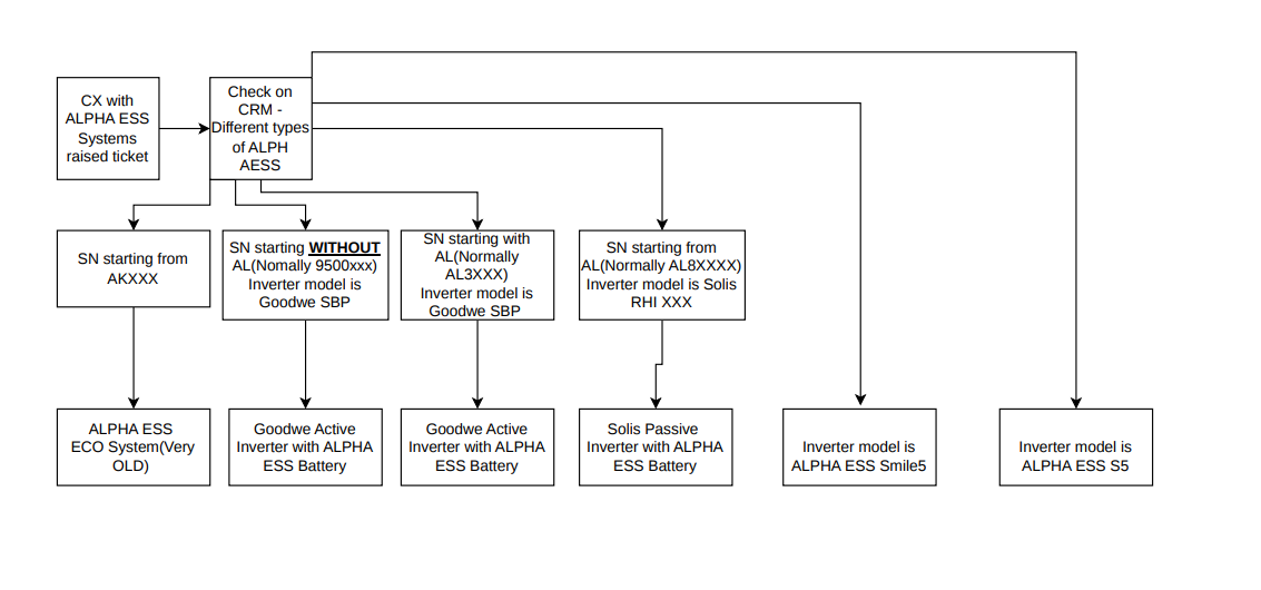
When to use: To verify which monitoring system to check
1. Alpha system SN starting AK / AL
Monitoring System : https://cloud.alphaess.com/index
Username: gtlrenewable
Password: ShineHub2024
2. Goodwe Active Inverter with Alpha ESSS Battery - SN normally starting with 9500xxx
Monitoring System : https://www.semsportal.com/home/login
Username: shaikh.u@shinehub.com.au
Password: Goodwe2018
Comments
0 comments
Please sign in to leave a comment.